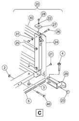
Cargo box parts

1-24 of 32